Magnescale GB-ER/SR138R磁栅尺使用说明书
通用的注意事项
为了确保正确地使用本公司产品,请遵守下述通用的注意事项。有关使用时的各种详细注意事项,请遵照本使用说明书中记载的诸事项及提醒您注意的说明事项。
·在使用和操作之前,请先确认本产品的功能及其性能是否正常,然后开始使用。
·为防止本产品意外发生故障时造成各种损坏,使用前请实施充分的安全保证措施。
·请注意,在规格范围外使用本产品以及使用经过改造的本产品时,无法保证其功能和性能正常。
·将本产品与其它设备组合使用时,根据使用条件、环境等的不同,可能无法实现本产品应有的功能和性能。请充分调查兼容性后使用。
在下面的环境下使用时的注意事项
①使用水溶性切削液或在加工过程中会产生金属微粉末或加工陶瓷·玻璃纤维等工件时。
·请安装在水溶性切削液和切屑不会直接溅到直线标尺器的地方。
·请安装直线标尺罩以防水溶性切削液的雾气或粉尘侵入标尺内部。
②安装于长时间在特定区间高速滑动的机械上(诸如珩磨机床)时。
·应定期加注机油或喷雾式润滑油(CRC-WD40等)。
在①或②的环境下使用时务必采取上述措施,否则可能不能保证质量。
安全预防措施
Magnescale Co., Ltd.产品是经周密的安全性考虑而设计的。然而,在运行或安装时不恰当的操作仍是危险的,它可能会引起火灾、触电而导致死亡、重伤等人身事故。另外,这些操作也可能损坏机器的性能。
因此,为了防止上述意外发生,请务必遵守安全注意事项,在对本装置进行操作、安装、维修、检查、修理等工作之前,请仔细阅读“安全预防措施”。
告标志的意义
本手册中使用下面的标志,在阅读正文之前请先理解它们的含义。
警告
如果不遵守该标志处的注意事项,可能会引起火灾、触电而导致死亡、重伤等人身事故。
注意
如果不遵守该标志处的注意事项,可能会引起触电或其它事故而导致受伤、损坏周围事物等各种意外。
注意
这是为了正确使用设备应注意的事项。

警告
![]() | ●不要使用所示电源电压以外的电压。有可能因此导致火灾或触电。 |
| ●不要用潮湿的手进行安装操作,有可能因此导致触电。 | |
●不要拆卸和改造本装置,有可能因此导致人身伤害,还有可能损坏内部线路。 |
注意
![]() | ●开始安装操作之前,请确认机床和装置的状态以确保安全操作。 |
| ●请务必断开电源、气源等驱动源后进行安装操作,否则有可能因此导致火灾或事故。 | |
| ●接通电源等开始运转时,请格外注意不要被周围的机床和装置夹到手指。 |
Magnescale GB-ER/SR138R磁栅尺使用说明书安装须知
设置须知
为了防止其它设备的噪声、电磁波障碍等,在设置本直线标尺时应注意下面几点。
1.铅包电缆及连接电缆不要与动力线通过同一个导管。
2.必须与高电压源、大电流源及大功率继电器保持0.5m 以上的设置距离。
3.切勿接近各种磁铁﹑电磁波发生源。
注意
![AE05~)]92{]U`$EC$DN_8@A.png AE05~)]92{]U`$EC$DN_8@A.png](/uploadfile/202301/ac816048552f940.png)
●接近电磁卡盘等6x10-2[T]左右的磁力源时,应离开直线标尺器的铁制机壳侧面10mm 以上,离开防尘嘴面50 mm 以上。
●如果不得不接近的话,请采取充分的磁屏蔽措施后使用。
4.为了防止噪声引起的故障,应给直线标尺部分和滑块部分接地。
安装场所须知
1.直线标尺器应尽量安装于机械的工件、测定物近旁。
(直线标尺器的安装位置距离工件越远,机械误差就越会被放大显示。)
2.请在环境温度0一40℃的范围内使用本产品。不要安装在阳光直射的地方或附近有电机等热源的地方。
3.切勿给安装好的直线标尺器强行施加压力,诸如在直线标尺器上搁放物品,操作员将胳膊支在或脚搁在直线标尺器上。
1.概要
1-1.序言
1-1-1. SR138R系列
SR138R系列是内置原点型直线标尺。
直线标尺部分和滑块部分的相对位置关系由滑块架进行调整和固定。
必须与另售的连接电缆CHO4配套使用。
注意
分别购买SR138R系列和CH04时,在使用前需要对CH04进行电气调整。如在购买时已委托进行了电气调整的话,可不需要调整。
1-1-2.CH04系列
这是内置有变换线路的专用电缆,可将SR138R系列的信号变换为通用的A/B相输出。与 SR138R系列组合后,可与我公司计数器(LH70、LH71等)、控制器等外部设备连接。
1-1-3.GB-ER系列
GB-ER系列中一同装有SR138R系列和已经过电气调整的连接电缆CH04-03C。
注意
应将SR138R系列的Serial No.和 CHO4-03C的组合No.为相同编号的来搭配使用。
1-1-4.CE10系列
这是另售的加长电缆,在需要延长电缆时可使用此加长电缆。
与CH04组合后最大可延长到30 m。
1-2.主要特点
●小型、轻量﹑内置原点
●安装简便
●温度膨胀系数与机械相同
●高精度位置检测
●抗油、抗脏污
2.各部分的名称和作用
2-1.直线标尺器

①滑块
保持读数头。出厂时用滑块架固定着。
②滑块中心
表示滑块的机械中心。可作为确认与有效长度标记的位置关系的标准。
③有效长度标记
此标记指示相对于滑块中心,能保证精度的有效可动范围的标准。有效长度表示有效可动范围的长度。
注意
安装及使用时,请在此范围内活动。超过有效可动范围地使用会损坏本产品。
④原点标记
此标记指示相对于滑块中心,原点信号输出位置的标准。
标准规格为在有效长度的中心存在1处原点。
⑤滑块架
用于固定直线标尺部分和滑块部分。拆下后请妥善保管。
⑥型号
标有本产品的型号。
⑦中间脚板
有效长度在1050 mm 以上的装有中间脚板。安装直线标尺器时这一部分也固定。
⑧Serial No./原点位置标示
标有本产品的Serial No.和直线标尺的原点位置。GB-ER系列的话,Serial No.与搭配的连接电缆的组合No.为相同编号。
注意
本直线标尺系统必须将直线标尺器的Serial No.和连接电缆(CH04系列)的组合No.为相同编号的来搭配使用。
2-2.连接电缆
注意
CH04:只有GB-ER系列附带连接电缆。
另行购买的连接电缆需要进行电气调整。


3.安装方法
3-1.安装前须知
请在安装之前务必确认“安装须知”。
禁止拆卸
<直线标尺器>
●请勿拆卸直线标尺器,否则不能保证精度。仅可拆卸滑块架。
<连接电缆>
●连接电缆已经过调整,请勿拆卸,否则不能保证精度。
●SR138R的另行购买的连接电缆因进行电气调整需要拆开外壳,除此之外请勿拆卸。
不要强行施加压力
●安装作业中不要给直线标尺器强行施加压力。直线标尺器由精密结构部件和电磁部件组成,强行施加压力会极大地影响性能和使用寿命。
●安装作业中不要给连接电缆的接口组件强行施加压力。接口组件内部装有精密电气元件并已进行过调整,强行施加压力会极大地影响性能和使用寿命。
●搬运时请将直线标尺部分和滑块部分一起支撑住。不要拿着读数头电缆或圆形连接器等搬运。
3-2.安装须知
注意
为了防止噪声引起的故障,应给直线标尺部分和滑块部分接地。
3-2-1.确认安装方向
请确认本直线标尺器安装成如图3-1所示的位置关系。*其它的安装方向不利于维修和维护,请勿采用。
(从防止切削液和切屑侵入的意义上来说,尤其推荐A所示的安装。)
(仅限于在没有切削液和切屑侵入的情况下可按B所示的方向安装。)
安装于上下轴时,请安装成直线标尺器的滑块部分朝向加工物(刀具)相反的一侧。
![E9`1%O$VZS{X]$XF(%CH]DN.png E9`1%O$VZS{X]$XF(%CH]DN.png](/uploadfile/202301/6242690354b32e4.png)
3-2-2.设定可动范围
安装直线标尺器时请按图3-3的可动范围安装。
●直线标尺器虽有可动余量(有效长度不超过200 mm 时左右7mm,有效长度250 mm 以上时左右15 mm),但滑块部分的移动如果超过这一限度会损坏直线标尺部分,请予以注意。
●超过直线标尺器的有效可动范围的机床需要有机械性限制机构(止动器等)。
请务必采取此类措施后再安装直线标尺器。
![`5}U~2A9]JMY~BKJXM]2DS9.png `5}U~2A9]JMY~BKJXM]2DS9.png](/uploadfile/202301/9c8ea4d2678cacb.png)
3-2-3.对读数头电缆的保护
读数头电缆与直线标尺器为一体型结构,所以在安装时不要给电缆施加负荷。
强行拉扯或反复弯折读数头电缆会有断线的危险。请予以注意。
3-2-4.安装直线标尺罩
如果使用中切屑或切削液等会直接溅到直线标尺器上,请安装图3-4所示的从外部覆盖住直线标尺器的外罩,以维持直线标尺器的性能。
![KZZU$K2@SQ]5%%6AY_P)HMD.png KZZU$K2@SQ]5%%6AY_P)HMD.png](/uploadfile/202301/3af28553144460b.png)
3-3.安装方法

<1>直线标尺部分安装面的平行度和平面度预先已
达到标准时
安装面为机械加工面,预先已达到下表所示的平行度、平面度的话,可直接安装直线标尺部分。
有效长度不到1050 mm (无中间脚板)的直线标尺器时使用的螺钉Ⅰ紧固扭矩:使用内六角螺栓M4x10(2根)、平垫圈(M)2个/350 N-cm
有效长度1050 mm 以上(有中间脚板)的直线标尺器时使用的螺钉Ⅰ紧固扭矩:使用内六角螺栓M4x10(3根)、平垫圈(M)3个/350 N-cm

A面的范围如图3-5所示。但是,上述容许值以平面内无急剧的变化和不妨碍将直线标尺部分安装于左右安装面之间为条件。
<2>直线标尺部分的安装面为铸造表面时利用安装托架安装
(1))安装面为铸造表面等平行度没有达到标准时
在直线标尺部分的设置位置上装上安装托架调整到<1>中所述的值。
安装托架在直线标尺部分的左右底脚部分的话,不是整个直线标尺部分都需要安装托架。对因安装机械的可动长度而无法测量左右底脚平行度的情况,请将安装托架的长度制作到能测定的范围。
如与机械的温度追随性存在问题的话,请给直线标尺器的整个长度都配置安装托架。

作为安装托架的形状,有固定定位面的话,请将该面的精度调整到<1>中所述的值。没有固定定位面的话,请按(4)中所示的方法进行调整。达不到安装面精度时也请按(4)中所示的方法进行调整。
2)确认安装位置和加工螺钉孔
直线标尺部分的安装平行度达到标准后,请按照外形尺寸图(P34)在安装孔位置上分别加工M4深度10的螺纹孔。
3安装直线标尺部分
直线标尺部分用带平垫圈(大)的内六角螺栓M4×10暂时固定,过30分钟以上使温度适应机械后再进行安装。
(4)测定直线标尺部分与机械滑动的平行度
在直线标尺部分侧面的校准标记位置(图3-7的)直接放上杠杆式千分表或千分表调节直线标尺部分对机械滑动的平行度。
![`}P]ME]_B@MW48OWSE7JPMO.png `}P]ME]_B@MW48OWSE7JPMO.png](/uploadfile/202301/c590e7a0998c.png)
平行度调整到校准标记的2点间在0.08 mm 以内,紧固固定螺钉。
有效长度为1050 mm 以上时,调整到中间脚板附近和左右校准标记的3点间在0.08 mm 以内后紧固固定螺钉。
注意
有效长度为150 mm 以下的直线标尺部分没有附带校准标记,请在直线标尺部分上放上杠杆式千分表,使机械的可动长度的两端在0.08 mm 以内。

(5)直线标尺安装托架达不到平行度时
请在图3-7中②的位置上放上杠杆式千分表或千分表测量各校准标记,在底脚的下部放入隔板等使平行度达到0.08 mm 以内。
对附带中间脚板的直线标尺器(有效长度1050~一2200 mm).中间脚板附近位置的平行度也应在0.08 mm 以内。
<3>安装滑块部分
(1)安装面的平行度和平面度预先已达到标准时
安装面为机械加工面,预先已达到下表所示的平行度、平面度的话,可直接安装滑块部分。
使用的螺钉Ⅰ使用的垫圈:内六角螺栓M4x12(2根)、平垫圈(S)2个
紧固扭矩:350 Ncm

移动机械使安装面位于滑块部分的下面。
用附带的隔板填入安装面和滑块部分的间隙后固定滑块部分。然后拆下固定滑块架的螺钉。拆卸时小心地移动机械,不要使托架碰上滑块部分。
[用附带的隔板 t=0.1 mm(5片)不能全填满滑块部分的间隙时]
在这种情况下,放松滑块架的固定滑块部分的螺钉,边将滑块部分推至直线标尺部分边用螺栓固定。
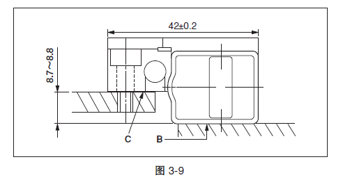
(2)B-C面的间隔设定为9 mm时
放松固定滑块架的螺钉,用手移动滑块部分对齐托架,在图3-9所示的42土0.2 mm 尺寸位置固定。不需要隔板。
注意
在滑块架固定的状态下移动托架侧有碰上滑块部分的危险,请勿采用这种方法。
![0]`V57]U[@~G%G7CBLJO8)N.png 0]`V57]U[@~G%G7CBLJO8)N.png](/uploadfile/202301/d3594cd11a122f4.png)
(3)滑块部分安装面没有达到精度标准时
机械的安装面为铸造表面时,可使用安装托架。
不要放松固定滑块架的螺钉,将滑块部分下面与安装托架对齐,边调整托架的高度边紧固螺栓。

(4)在滑块部分上侧安装托架时
将安装托架与滑块部分上面对齐,调整安装托架使自直线标尺部分安装面起的高度为21±0.1 mm。安装托架应为滑块架凸部退入的形状。如图3-11所示用螺栓(内六角螺栓)M5x25(2根)和螺母M5(2个)固定滑块部分。

(5)托板安装于滑块部分背面时
不要放松固定滑块架的螺钉,将滑块部分背面与安装托架对齐,边调整托架的高度边用附带的M4x8(2根)螺钉紧固。

*滑块部分的有效螺纹深度为4.5 mm o
安装托架的厚度如果小于4 mm,请用垫圈调整厚度。
Magnescale GB-ER/SR138R磁栅尺使用说明书
<4>拆卸滑块架
拆下滑块架的固定螺栓M2.6(4根),卸下滑块架。
●拆卸后的螺钉孔务必用遮蔽用标签(附件)贴上。否则切削油、切屑、灰尘会从孔中进入,有影响直线标尺精度的危险。请在标签上用圆珠笔注明安装日期和主管人员的姓名。

注意
请妥善保管好拆下的滑块架和M2.6螺栓(4根)。
<5>确认可动范围
安装直线标尺部分和滑块部分后必须在整个全长范围内移动机械,确认直线标尺有效长度和机械的移动量在有效长度以内。
机械的移动量超过直线标尺器的有效长度+可动余量的话,会损坏直线标尺器,请予以注意。
<6>安装读数头电缆
—
用电缆夹固定读数头电缆使其不妨碍操作。
注意
读数头电缆与直线标尺器为一体型结构,所以在安装时不要给电缆施加负荷。
强行拉扯或反复弯折读数头电缆会有断线的危险。请予以注意。

Magnescale GB-ER/SR138R磁栅尺使用说明书
网站客服咨询客服
热线电话:
13962107506
